继上篇介绍了Qnet的各个界面的详细功能后,本文则重点围绕“如何开战APP弱网测试?”,详细介绍下整个测试流程及步骤。
一、Qnet工具测试步骤
第1步:选择待测应用
QQ登录后,在【工作台页】点击[点击选择应用],选择测试APP:例如柠檬班app。

第2步:选择弱网测试模板
将需要测试的网络场景模板添加到工作台,点击选择网络场景,可支持模板编辑。比如当前测试选择[极差网络]。

第3步:启动
第一次开启时会弹出请求【悬浮窗权限】,勾选允许悬浮窗功能;再次点击启动,第一次运行时会弹出请求【VPN权限】,点击【确定】则QNET启动成功

第4步:操作待测APP,关注软件情况
启动后,QNET会自动拉起待测APP,页面会显示控制悬浮窗,信息悬浮窗。
- 控制悬浮窗:
- 【QNet图标】按钮双击后会回到QNET应用中(部分厂商手机可能不支持);
- 【暂停/继续】按钮点击后会切换到正常网络,继续后会回到当前弱网模板继续执行;
- 【扩展/收缩】按钮点击后会展示所有的模板,方便用户切换模板进行测试;
- 信息悬浮窗:
展示当前弱网类型、网络延时ping值、当前弱网生效状态和参数内容;

第5步:停止
测试完毕,双击[控制悬浮窗]Qnet图标,回到Qnet【工作台】页面,点击停止。
设置页勾选[测试报告],停止后可手动获取/storage/emulated/0/qnet_save/report中报告数据查看。

二、Adb实现弱网自动化
前提: 确保本地电脑已安装好adb运行环境(自行百度)。
功能介绍: ADB指令执行功能可以自动化的启用弱网,帮助用户可以接入进行自动化测试弱网。功能包括adb命令行发送指令启动弱网、停止弱网、更新弱网模板等功能。
参数传递方式:
--[类型] [key] [value]
--ei:表示参数值为int
--es:表示参数值为string
1. 启动弱网
首先执行命令启动QNET进程:
adb shell am start {--[类型] [key] [value]} com.tencent.qnet/.Component.AdbStartActivity
使用示例:针对柠檬班app进行UDP上行50ms延时抓包
adb shell am start --ei "dump_pcap" 1 --es "package_name" "com.lemon.lemonban" --ei "out_delay" 50 --ei "protocol" 2 com.tencent.qnet/.Component.AdbStartActivity
补充:
获取app包名: adb shell dumpsys activity | find "mResumedActivity"
2. 结束弱网并退出进程
adb shell am broadcast -a "qnet.boradcast.drive" --include-stopped-packages {--[类型] [key] [value]} com.tencent.qnet
使用示例:结束弱网
adb shell am broadcast -a "qnet.boradcast.drive" --include-stopped-packages --es
"command" "stop_service" com.tencent.qnet
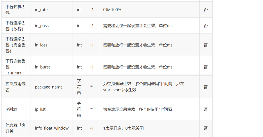
3. 详细参数列表


注意:
QNET进程不能被清理,否则弱网会被关闭;
更新弱网参数是全量更新,参数中没有设置的参数会被直接设置为默认值。
参考文档:Qnet官网文档
欢迎来到testingpai.com!
注册 关于